壓力降:延介質流動方向壓力必須是降低的叫壓力降。
試驗介質要求:在整個壓力降試驗中,試驗油液粘度保持28. 8 m m²/s- 35. 2 m m²。
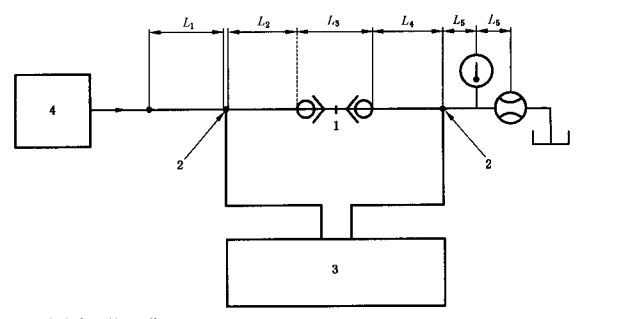
液壓快速接頭的壓力降試驗機原理
L1=接頭管直徑或管路直徑的10倍
L2=接頭管直徑或管路直徑的5倍
L3=接頭加上端部管件
L4=接頭管直徑或管路直徑的10倍
L5=接頭管直徑或管路直徑的5倍
1:測試件
2:壓力測試點
3:接到壓差測量裝置
4:控制液體供給量
1如圖所示將接頭總成裝入試驗裝置中。 選擇額定流量的25%~ 150%,至少六個試驗流量值(必須包括額定流量的100% ) 。
2在選擇的試驗流量下按接頭總成正反兩個方向測定并記錄壓力降。
3從試驗裝置上拆下接頭總成,裝上一支相應規格管件相適應的管子,按第一步,以相同的試驗流量測定和記錄壓力降。
試驗結果:
由第2步驟所測定的壓力降減去按 第三步驟所測定的壓力降,其差值即為接頭總成凈壓力降。對每種流動方向在坐標紙上繪制壓力降曲線。
如果在任何一種流量下,通過接頭總成一個方向流動的壓力降數值比通過接頭總成另一方向流動的壓力降數值少 10% ,則選用兩值中的較大值。
標簽:液壓快速接頭,

|