排氣閥與定容腔體的連接都位要氣密,與水平面要垂直,閥片不要因受力面變形。
定容腔內抽負壓為1470Pa。
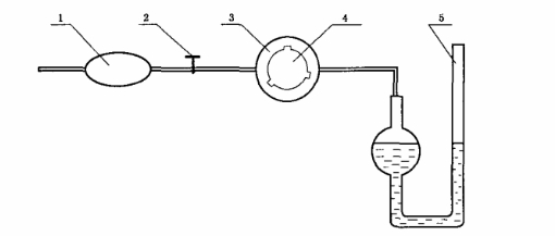
試驗裝置
試驗裝置如圖所示

1一一抽氣手球
2一一夾子
3一一定容腔體
4——超壓排氣閥
5一一水柱壓力計
定容腔體:容積50mL士5mL
水柱壓力計量程:-1980Pa~980Pa
試驗方法
試驗裝置自身氣密性:將定容體與排氣的通孔封閉,抽氣至負壓1470Pa,用夾子夾膠管2min內壓力應無變化。
安裝好排氣。
用抽氣手球抽氣至負壓1470Pa后,用夾子或住膠管。
從負壓1470Pa,啟動計時器計時。
試驗結果:
記錄壓力恢復到零的時間,即為該排氣閥的氣密性。
標簽:試驗,檢測

|